找回密码
 注册
楼主: 美林

如何自制带锯机?

[复制链接]
发表于 2008-8-12 01:42:11 | 显示全部楼层
自制带锯机,可能发生的危险是什么?
9 `  {) g9 L# Y) a/ m如果断锯条,会发生什么危险?
1 ?/ k* @, X5 Y' Olz说的“剖盒子”是什么意思?
回复 支持 反对

使用道具 举报

 楼主| 发表于 2008-8-12 02:09:38 | 显示全部楼层
原帖由 白龙马 于 2008-8-12 01:42 发表 & k4 r' f. q* w: r# m
自制带锯机,可能发生的危险是什么?
# b  L; y7 b9 d! R如果断锯条,会发生什么危险?, ~! }: Y1 U8 c- Q$ N5 Y
lz说的“剖盒子”是什么意思?

- ^. \# s9 f- s剖盒子,就是将一个六面体,剖开,变成由箱盖,和箱体组成的一个箱子。
( |+ `9 B, }/ h& N自制带锯机,可能发生的危险就是断锯条,如果锯条断了,飞出来的话,很容易伤人。
回复 支持 反对

使用道具 举报

 楼主| 发表于 2008-8-12 02:17:43 | 显示全部楼层
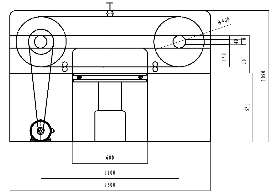
做了个卧式带锯机的结构图,请大家看看,帮忙出点主意。先谢了!
$ A) O4 Y# a, c; J2 {! Y/ M, c7 [ 卧式带锯机.jpg
回复 支持 反对

使用道具 举报

发表于 2008-8-12 02:25:21 | 显示全部楼层
不会买不到能能用的带锯吧!
回复 支持 反对

使用道具 举报

头像被屏蔽
发表于 2008-8-12 07:17:09 | 显示全部楼层
回复 支持 反对

使用道具 举报

发表于 2008-8-12 07:32:38 | 显示全部楼层

回复 18楼 的帖子

我看可以,唯一能提出来的就是精度高一些为好,避免锯条抖动是关键。
回复 支持 反对

使用道具 举报

发表于 2008-8-12 07:56:13 | 显示全部楼层
机器都是人制造的,但是要设计合理,精度要够
回复 支持 反对

使用道具 举报

发表于 2008-8-12 08:25:17 | 显示全部楼层
做一台未必比买的成本高,支持楼主。
回复 支持 反对

使用道具 举报

发表于 2008-8-12 09:10:31 | 显示全部楼层
这种专用的值得设计新型机器,支持。担心带锯没有想象的精度高。提高台锯精度降低功率也未必不是好方法。不太理解为何你的台锯4次不一致或不平。$ x$ F% x* Y1 k3 e+ n5 l! L2 p
另外,能不能把盒子一面固定,用锯片转一圈的方法?
回复 支持 反对

使用道具 举报

 楼主| 发表于 2008-8-12 10:16:27 | 显示全部楼层
原帖由 太阳鱼 于 2008-8-12 09:10 发表
/ o" w  z1 n2 j: N" y这种专用的值得设计新型机器,支持。担心带锯没有想象的精度高。提高台锯精度降低功率也未必不是好方法。不太理解为何你的台锯4次不一致或不平。3 W& ?5 z9 G( @+ Q
另外,能不能把盒子一面固定,用锯片转一圈的方法?
6 v& ~1 G' b( [1 Q+ a+ R' H* l
木板台锯下料,手工拼接,几何尺寸难免达到要求,分四次锯的话有四个基准面,所以有偏差。
' i6 O  e% o8 u0 p- j另外,盒子体积较大,锯片转一圈很难实现。
回复 支持 反对

使用道具 举报

发表于 2008-8-12 10:43:37 | 显示全部楼层
台锯还是挺准确的http://www.incra.com/videos/WebTSLSStandard.wmv
1 y8 I! Q0 S0 `0 x3 O4 |0 A1 T我diy的也没可见误差
回复 支持 反对

使用道具 举报

头像被屏蔽
发表于 2008-8-12 11:04:09 | 显示全部楼层
太阳鱼经验丰富,肯定没错
回复 支持 反对

使用道具 举报

 楼主| 发表于 2008-8-12 11:46:36 | 显示全部楼层
原帖由 太阳鱼 于 2008-8-12 10:43 发表
" `  C0 h- E! j9 R) u2 z9 @台锯还是挺准确的http://www.incra.com/videos/WebTSLSStandard.wmv
% _# _# E# t8 S- Z( O我diy的也没可见误差

# p4 T! v2 ~$ U: f' V* b$ p这种靠尺那里有买?
回复 支持 反对

使用道具 举报

发表于 2008-8-12 13:58:11 | 显示全部楼层
原帖由 美林 于 2008-8-12 02:09 发表
" h2 Z. O" A. f% t1 `% [2 H
; D' v5 [/ i4 ?- ^$ f2 T剖盒子,就是将一个六面体,剖开,变成由箱盖,和箱体组成的一个箱子。
% @4 j7 ^2 i# E. ]自制带锯机,可能发生的危险就是断锯条,如果锯条断了,飞出来的话,很容易伤人。
5 S% t6 ~& B1 u( a- c" y
如果就是切固定形状的东西(盒子),那在带锯机旁边可以作保护罩,7 Z" ?  @2 t8 x/ Z( J# n" B
或者这个思路的其他工装,参考台锯、台刨等的保护罩,让锯条断也断在保护罩中,任何时候不会飞出来。" e$ z, S& X8 ]% g8 N
锯的时候也是全程在保护罩中完成。送料有推板等辅助机构。$ F) A) u; G" L) s- \% l# C& A: x
安全方案先行。如果没有安全方案,这个东西也不用作了。
回复 支持 反对

使用道具 举报

发表于 2008-8-12 14:44:09 | 显示全部楼层
即便台锯很精确(例如拥有精确的靠山等),也不能保障锯出的4个切口可以组成平的截面
  R9 |/ c) J# t3 \( O) M因为盒子本身几何形状就有误差的,每次锯切,都是一次“重新装卡”,基准会变。0 S7 ^5 [; f, N6 x
盒子不是严格立方体的东西,事实上这样的东西就不存在。, A, M2 a1 ]0 P+ C% `* o. S( \

( s1 w$ n7 u) d9 n9 J6 d不知道打磨一个台锯切出的盒子要多少成本,如果是¥1,每个月要1万元,早够买个带锯机了。& Y3 B, f5 D* T9 C" q
如果不是从兴趣出发,建议购买现成的。(要是带锯机不贵出去很多的话)4 r& L8 p( |6 u! U1 T6 A
但是购买之前最好先试锯几个盒子,也许带锯机(即便是市售的)锯出来的效果不如台锯呢。* M$ F2 u0 I1 T4 |8 @
, {$ A, N* l( d& ~6 I9 N0 B
[ 本帖最后由 白龙马 于 2008-8-12 14:46 编辑 ]
回复 支持 反对

使用道具 举报

您需要登录后才可以回帖 登录 | 注册

本版积分规则


快速回复 返回顶部 返回列表