找回密码
 注册
查看: 3083|回复: 40

自造带锯这样行吗

[复制链接]
发表于 2017-3-11 22:28:35 | 显示全部楼层 |阅读模式
, T( S) a! X/ p) M
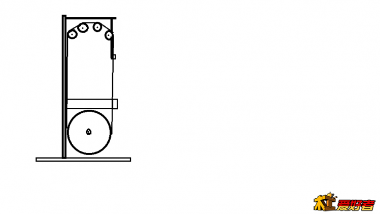
从明天开始备料准备自己造带锯,我想用350轮造比正规商品还要能够锯更厚的带锯机。  N8 H+ l, Z, v% ~6 d+ b2 i
大家看看这样设计是否行,请提宝贵意见。& `& G! g1 N# u2 p# p  p2 C* M
11111.png - }7 c5 x: P# D2 y0 @. g* w
! j9 v' D' V9 n2 b6 m
回复

使用道具 举报

发表于 2017-3-11 22:35:57 | 显示全部楼层
上轮不行。上下全要正规圆轮,小轮绷紧锯条会有硬弯,容易折锯条,非常危险。
回复 支持 反对

使用道具 举报

发表于 2017-3-11 22:40:28 | 显示全部楼层
想法新新,继续关注。
回复 支持 反对

使用道具 举报

发表于 2017-3-11 22:46:51 | 显示全部楼层
锯条弯弯直直容易疲劳,锯条很易断。# S" R: v3 k2 @; {
回复 支持 反对

使用道具 举报

 楼主| 发表于 2017-3-11 22:48:34 | 显示全部楼层
本帖最后由 兴趣者 于 2017-3-11 22:50 编辑
2 h- T/ Y' S  X$ r1 t
撒哈拉森林 发表于 2017-3-11 22:35: V7 s8 k# E) s2 k; V
上轮不行。上下全要正规圆轮,小轮绷紧锯条会有硬弯,容易折锯条,非常危险。
$ J  ]( l; c+ C
因此我想多用小轮子,至少要用5个吧,被动轮子用小的应当会减小阻力,多了就不会出现急折弯了,大轮会影响厚度
4 G) j9 C$ w6 f, z* P, G
回复 支持 反对

使用道具 举报

 楼主| 发表于 2017-3-11 22:54:27 | 显示全部楼层
师兄1968 发表于 2017-3-11 22:46- n% x5 \1 s: \. A
锯条弯弯直直容易疲劳,锯条很易断。

% j4 \6 q. x1 j多用小轮子不会出现急折弯的,用小轮子至少会增加17公分的厚度(如果用350主动轮)。
6 D- x1 d' I# h; N
回复 支持 反对

使用道具 举报

发表于 2017-3-11 23:03:33 | 显示全部楼层
让锯条平稳运行的,不能只靠主动轮,上轮用小轮虽然可以忽略动平衡这一关,但小轮的角动量不足以维系锯条的稳定性,锯料时候的反作用力都靠锯卡后轴承分担,估计不好用啊。当然,这只是我的猜测,楼主可以验证一下哈。7 C' r7 x/ U) E$ F# F
回复 支持 反对

使用道具 举报

发表于 2017-3-11 23:05:35 | 显示全部楼层
有想法,但是既然那么多的成品都没有采取你这样的方法进行制造,那么肯定这种方法存在一定的缺陷。也许有一天锯条的条件改善了,你这个方法将是最好的。科学不是单一的,而是好多的元素制约了一些好的想法。就像爱迪生,他是在有了电的基础上发明了电灯泡,反过来,如果他早想到了灯泡的制作方法,但没有电,它也不会亮起来,因为实现不了。你所说的这样能增加喉深,但锯条的韧度达不到这样的要求,虽然勉强能用,但就像楼上几名木友提到的,你这样做只能多准备几根锯条了。
回复 支持 反对

使用道具 举报

 楼主| 发表于 2017-3-11 23:06:26 | 显示全部楼层
本帖最后由 兴趣者 于 2017-3-11 23:08 编辑 ! k2 x, A6 Z- F
zgjwj8374 发表于 2017-3-11 23:03! w6 x3 s7 N! p: c1 R
让锯条平稳运行的,不能只靠主动轮,上轮用小轮虽然可以忽略动平衡这一关,但小轮的角动量不足以维系锯条的 ...

! y6 w0 b. c# l: w我小轮也要挖上锯条槽,所有小轮子都在一块板上,当然也是为了调节锯条的松紧
4 p5 o8 _: W( y 22.png
  G  o, y, O( M8 c- q% t
回复 支持 反对

使用道具 举报

 楼主| 发表于 2017-3-11 23:16:09 | 显示全部楼层
虫眼也是眼 发表于 2017-3-11 23:05
0 h% {$ [; _: A% _) y+ ^有想法,但是既然那么多的成品都没有采取你这样的方法进行制造,那么肯定这种方法存在一定的缺陷。也许有一 ...
$ N; D2 {. {' t( F5 ?
怎么感觉小轮多了不存在你所担心的问题,我想小轮子可以组合任意弧度,完全可以达到下轮锯条与轮子接触的弧度( O1 ?6 |. S) o' E5 x: R
回复 支持 反对

使用道具 举报

 楼主| 发表于 2017-3-11 23:23:03 | 显示全部楼层
虫眼也是眼 发表于 2017-3-11 23:05* S4 x2 D3 y$ _  h# Z4 u
有想法,但是既然那么多的成品都没有采取你这样的方法进行制造,那么肯定这种方法存在一定的缺陷。也许有一 ...
# X, P7 s% c( i
其实我是个这方面的外行,我只是喜欢这方面研究。明天开始先备料。(俺不是为了非得使用带锯而自己造,感觉没有多少科技含量的东西价格那样贵,并且我觉得上轮会影响到轮子一半的喉深,完全就是一种尝试)
6 s3 k2 q  W, N0 O/ O
回复 支持 反对

使用道具 举报

发表于 2017-3-11 23:32:58 | 显示全部楼层
支持楼主尝试9 m9 M2 k: ~# m5 `% y' b
回复 支持 反对

使用道具 举报

发表于 2017-3-11 23:35:31 | 显示全部楼层
科学进步  就靠你了  加油+ I+ M5 t5 I7 S% z6 u
回复 支持 反对

使用道具 举报

发表于 2017-3-11 23:37:40 | 显示全部楼层
看着简单其实学问大了  我们只是看到外表  并不正真了解其所有
/ c: l$ L: J# U- k  t5 P
回复 支持 反对

使用道具 举报

 楼主| 发表于 2017-3-11 23:41:40 | 显示全部楼层
1202260750 发表于 2017-3-11 23:37/ e( U' V# G, T  G
看着简单其实学问大了  我们只是看到外表  并不正真了解其所有
1 v: Y% G- s' c& p" a/ D( v
如果真的行的话,那么我们可以买小型号的带锯机改造上轮会增加锯的喉深。/ p& Q8 |8 M" p; m+ t7 n/ P2 Z8 ^, U
回复 支持 反对

使用道具 举报

您需要登录后才可以回帖 登录 | 注册

本版积分规则


快速回复 返回顶部 返回列表